Pneutork offers ISO 5211 pneumatic rotary actuator operated BUTTERFLY VALVE FOR PHARMA APPLICATION.
On/Off Actuator
NAMUR Standard solenoid valve in all standard coil voltage
(Flame proof solenoid coil on request)
Pneumatic & Electro pneumatic valve positioner.
Declutchable able Manual Over ride
Limit Switch for on/off indication at panel board.
Air filter + Regulator combination with pressure Gauge
Air Lock Valve
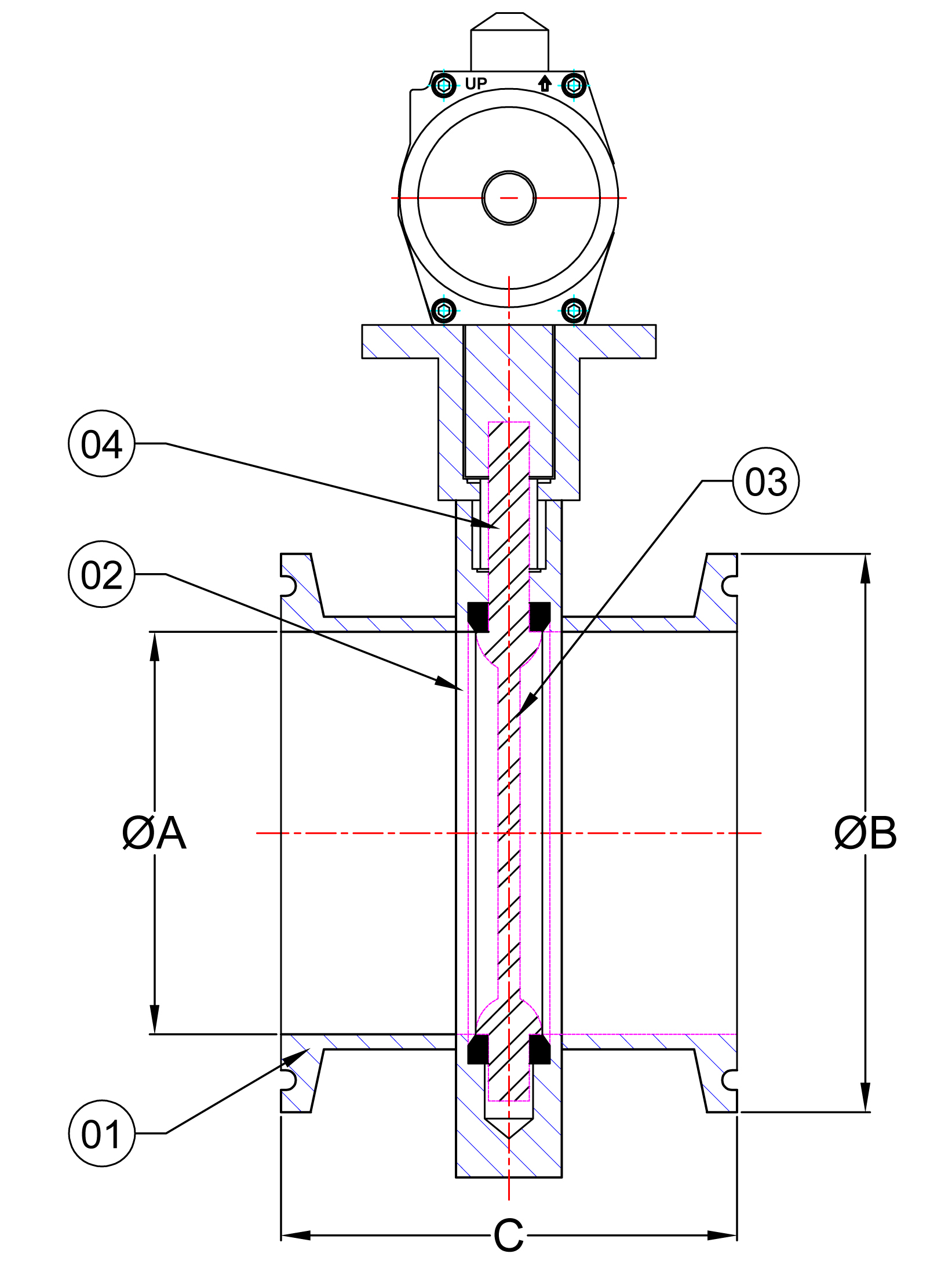
| Valve Type | Wafer type |
|---|---|
| Body Type | Short Wafer Type (sandwiched between flanges) |
| Seat Type | Food grade silicon (others on request) |
| End Connection | Wafer Sandwiched / Tc End |
| Pressure Rating | PN 6 (Maximum) |
| Oper. Temp. Range | -20ºC to 95ºC |
| No. | Description | Material |
|---|---|---|
| 1 | Body | SS 304 / SS 316 / SS 316L |
| 2 | Disc | SS 304 / SS 316 / SS 316L |
| 3 | Seat | Silicon |
| 4 | Shaft | SS 304 / SS 316 / SS 316L |
| 5 | Pneumatic Actuator | Standard |
| MM | Inch |
Dimension Of Wafer Type
Port ±1MM |
L
±3MM |
ØD
±5MM |
N |
ØJ
±5MM |
PCD
±1.5MM |
Dimension Of TC End
A |
B | C |
|---|---|---|---|---|---|---|---|---|---|---|
| 25 | 1” | 25 | 24 | 85 | 4 | 6.35 | 65 | 22.1 | 50.5 | 60 |
| 40 | 1.1/2” | 38 | 25 | 95 | 4 | 6.35 | 74 | 34.8 | 50.5 | 60 |
| 50 | 2” | 50 | 26 | 118 | 4 | 7.9 | 97 | 47.5 | 64 | 60 |
| 65 | 2.1/2” | 63 | 26 | 127 | 4 | 7.9 | 105 | 6.2 | 77.5 | 60 |
| 80 | 3” | 76 | 26 | 144 | 4 | 7.9 | 128 | 72.2 | 91 | 74 |
| 100 | 4” | 100 | 25 | 160 | 4 | 7.9 | 142 | 97.6 | 119 | 90 |
| 125 | 5” | 127 | 25 | 200 | 6 | 9.5 | 175 | 148.4 | 167 | 85 |
| 150 | 6” | 150 | 25 | 225 | 6 | 9.5 | 203 | 199.2 | 217 | 88 |
| 200 | 8” | 200 | 28 | 285 | 6 | 9.5 | 264 | 250 | 268 | 90 |
| 250 | 10” | 250 | 28 | 335 | 6 | 11 | 298 | 300 | 319 | 90 |
| 300 | 12” | 300 | 30 | 385 | 8 | 14.5 | 360 | - | - | - |
| 350 | 14” | 350 | 35 | 440 | 8 | 14.5 | 415 | - | - | - |
| 400 | 16” | 400 | 35 | 490 | 10 | 17.5 | 460 | - | - | - |
| 450 | 18” | 457 | 35 | 540 | 10 | 17.5 | 508 | - | - | - |
| 500 | 20” | 500 | 35 | 600 | 12 | 17.5 | 565 | - | - | - |
Reach out for tailored solutions. Our team is ready to assist. Submit an inquiry and experience excellence in valve automation solutions.